
Microsoftovo odeljenje u Nemačkoj je održalo događaj za developere i novinare, kojem je prisutvovao i Panos Panay – kompanijin šef proizvoda. Tokom događaja je bilo dosta pitanja i razgovora u vezi sa Surface Duo uređajem. Panay nije otkrio mnogo detalja, ali je istakao da Microsoft “radi na kameri svetske klase”.
Prototip uređaja, koji je prikazan ranije, je imao samo jednu selfi kameru. Na poleđini je bio smešten veliki, okrugli izrez, verovatno kako bi označio mesto gde će se naći kamera modul. Ali i ovoga puta sa samo jednim senzorom.
Naravno, proteći će čitavih godinu dana do planirane objave Surface Duo uređaja i mnogo toga će se izmeniti u dizajnu od prototipa do konačnog proizvoda. Ostaje da se vidi koliko će dobru kameru Microsoft uspeti da implementira u uređaj čije dve polovine su prilično tanke.
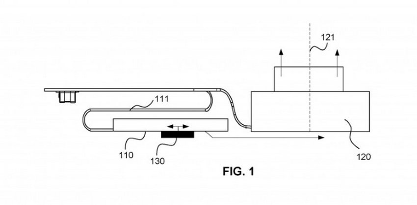
Kompanija ima i zanimljiv patent, koji bi se mogao naći na uređaju. Opisuje odvojenu grupu sočiva i senzora za sliku, koji se u poziciju smeštaju uz pomoć aktuatora, odnosno pokretača kada je to potrebno. Kada nema potrebe za senzorom, on se povlači.
(benchmark)



















